For the past year many have painted a picture of Nike as a company lacking innovation but you can never EVER think a company as historically innovative as Nike would be sitting by idle as other companies pass on by. NOPE.
Last week Nike filed a patent for what looks like a brain (computer) for your shoes. The patent Abstract states:
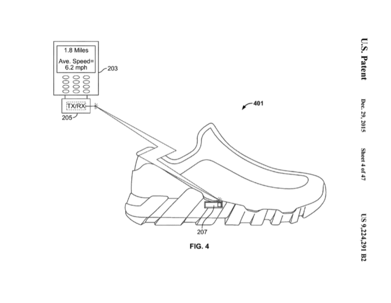
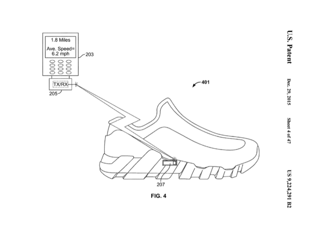
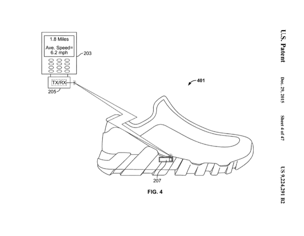
“Athletic data may be recorded and displayed using a computing device such as a mobile communication device during performance of physical activity. In some examples, the device may provide options for defining and recording athletic activity performed by the user. Such options may include various content item selection and rendering controls. Additionally or alternatively, route selection and controls may be provided through the device. Recorded activity data may be further be transmitted to a remote site through a network.”
The idea might sound familiar if you’ve been pairing a device with your enabled Nike shoes or competing with your Fuel Band but this device would ultimately eliminate the need for a Fuel Band and be fully capable of helping you train harder and more efficient.
Check out the patent below and stay tuned for more info as it develops.



